| Tác giả |
|
hpthuy Hội viên


Đă tham gia: 23 February 2006 Nơi cư ngụ: Japan
Hiện giờ: Offline Bài gửi: 47
|
| Msg 1 of 42: Đă gửi: 21 September 2007 lúc 12:43pm | Đă lưu IP
|
|
|
Kính
Kính chào các bác,
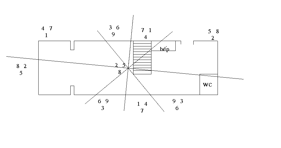
Em tuổi Bính Th́n, cách đây 4 năm em có sửa lại căn nhà mà em mua năm 2002 (nhà 3m x 10m, 1 trệt 1 lầu, hướng Tây Nam 242 độ). Từ ngày sửa nhà, chỉ có việc học là hanh thông, c̣n chuyện tiền bạc th́ hư không, cuộc sống luôn luôn túng thiếu, nợ như Chúa Chổm, thật vất vả trăm bề. Thấy các bác kiến thức sâu rộng, em mạn phép đưa sơ đồ căn nhà mong được nghe các bác chỉ giáo em cần sửa chữa những ǵ để giúp cải thiện t́nh h́nh hiện tại.
Em xin cám ơn các bác.
|
| Quay trở về đầu |
|
| |
nvanhoai Hội viên


Đă tham gia: 17 January 2007 Nơi cư ngụ: Vietnam
Hiện giờ: Offline Bài gửi: 27
|
| Msg 2 of 42: Đă gửi: 22 September 2007 lúc 10:43pm | Đă lưu IP
|
|
|
Chào bạn hpthuy Xin bạn cho biết kích thước rơ hơn như hè là bao nhiêu? từ cửa trước tới cầu thang? từ cầuthang tới sau? Cũng như h́nh thế bên ngoài ra sao? nhà sửa chính xác năm nào ? tháng mấy ? sửa bao nhiêu phần trăm ? Hy vọng khi có đầy đủ thông tin th́ mọi người có thể giúp bạn được Thân ái
|
| Quay trở về đầu |
|
| |
hpthuy Hội viên


Đă tham gia: 23 February 2006 Nơi cư ngụ: Japan
Hiện giờ: Offline Bài gửi: 47
|
| Msg 3 of 42: Đă gửi: 15 October 2007 lúc 11:39am | Đă lưu IP
|
|
|
Em xin lỗi bác nvhoai v́ 1 tháng nay em bận đi công tác nên chẳng thể nào vào viết trả lời được ạ. Mong bác thứ lỗi, và cám ơn bác đă nhiệt t́nh có ư giúp em ạ.
Đây là thông tin bổ sung cho căn nhà của em. Mong bác xem và giải cứu giúp em với.
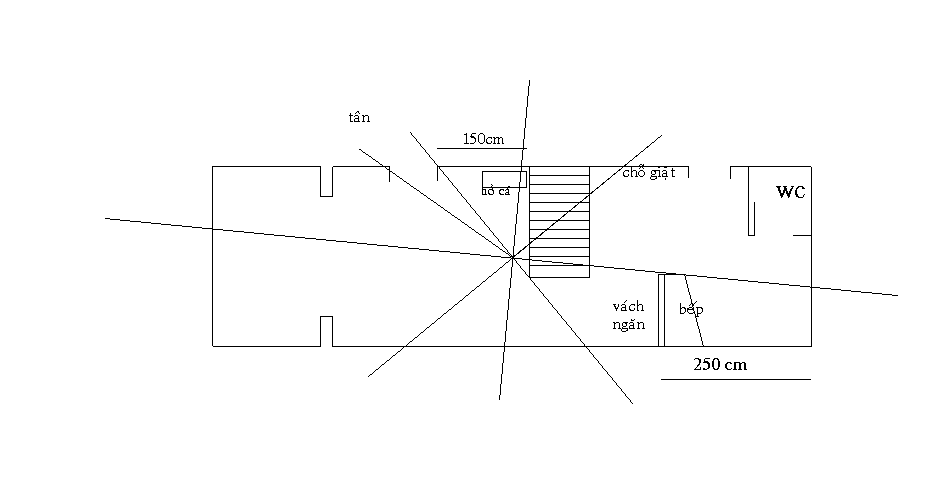
Nhà 3mx10m, 2 mặt đường hẻm 3m. Cấu trúc nhà: hè 1.8m (cả tường là 2m), pḥng trước 3.3m, (nên từ mép đường là 5.4m là tới cầu thang, c̣n tính từ cửa trước là 3.4m). Nhà sửa tháng 11 dương lịch năm 2003 và sửa gần như toàn bộ.
Nhà đúc so le, trần pḥng khách (trước- trệt) là 3,3 m,cao hơn trần pḥng sau là 2,8m, nên ở trên lầu phải có một cái cầu thang nhỏ (3 bậc) để đi từ pḥng sau lên pḥng trước.
C̣n 1 chi tiết nữa là ngay góc phía trước bên phải của pḥng khách ngày trước là nơi đặt giếng khoan. Nhưng sau này dùng nước máy nên tới sau Tết năm 2006 em đă lấp lại (đậy nắp nhựa và đổ bê tông lên trên).
Em kính nhờ bác xem hộ em ạ.
Cám ơn bác nhiều!

|
| Quay trở về đầu |
|
| |
vanhoai Hội viên


Đă tham gia: 09 September 2006 Nơi cư ngụ: Vietnam
Hiện giờ: Offline Bài gửi: 76
|
| Msg 4 of 42: Đă gửi: 15 October 2007 lúc 5:45pm | Đă lưu IP
|
|
|
Chào bạn hpthuy nhà bạn là tọa dần hướng thân kiêm 2 độ. Nhà này đắc tam ban quái nhưng bị thướng sơn há thủy tức tổn đinh tổn tài. Nhà tam ban quái th́ được gia đ́nh ḥa thuận , con cái ngoan hiền. Nhà này c̣n có cầu thang động khí ở cung hướng bắc nhất tứ đồng cung chủ khoa bàng nên có người học giỏi là vậy. V́ nhà bố trí không dược hợp lư nên tài lộc hư không,năm nay c̣n có niên tinh ngũ hoàng tới bếp nên đă khó khăn càng khó khăn hơn. Sau đây là tinh bàn nhà bạn
 Tôi xin đề nghị bạn chỉnh sửa như sau - mở một cửa phụ tại cung tân để lấy thành môn -chuyển bếp qua đối diên, miệng bếp quay về sau -chuyển wc qua chỗ giặt và chỗ giặt chuyển tới chỗ bếp cũ - đặt một hồ cá hoặc phong thủy luân dưới chân cầu thang để kích tài V́ năm nay tam sát ở hướng tây. ngũ hoàng ở đông bắc nên không mở cửa phụ và dời wc trong năm nay được. Mà dời bếp th́ sẽ nh́n vào cửa wc nên cũng không dời bếp được. Do đó tạm thời bạn chỉ có thể :
- đặt hồ cà hoặc phong thủy luân
-làm một cái bàn mà xoay bếp về phía sau, lưng tựa cầu thang. Đồng thời làm một hũ sành trong bỏ 1 kg muối biển và 6 đồng cắc, đổ nước xấp miệng, đập bằng 1 miếng kim loại trên đục mấy lỗ cho thông khí sau đó đặt dưới bếp trong năm nay hầu hóa giải niên tinh ngũ hoàng.
Đợi qua tết bạn mới làm các việc như tôi đă hướng dẫn.
Chúc bạn thành công

Sửa lại bởi vanhoai : 15 October 2007 lúc 9:13pm
|
| Quay trở về đầu |
|
| |
munvnhp Hội viên


Đă tham gia: 14 May 2007 Nơi cư ngụ: Vietnam
Hiện giờ: Offline Bài gửi: 33
|
| Msg 5 of 42: Đă gửi: 16 October 2007 lúc 12:44am | Đă lưu IP
|
|
|
Chào bạn vanhoai !
Ḿnh theo dơi trên dd thấy bạn thật là người nhiệt t́nh,sẵn sàng bớt thời gian giúp đỡ người khác.Xin lỗi cho ḿnh có 1 chút ư kiến.
- Như bạn hpthuy nói là nhà bạn sửa tháng 11/2003 dương lịch và sửa gần như toàn bộ th́ là vận 7 ḿnh an lại tinh bàn như sau: (vận tọa hướng)
8 9 5 3 5 9 1 7 7 (ĐB)
9 8 6 7 1 4 8 3 2
4 4 1 2 6 8 6 2 3
TN
- Bạn hpthuy là chủ nhà Bính Dần (1976) --> Mệnh Ly. Hướng TN là hướng sinh khí của Trạch quái nhưng là hướng lục sát của chủ nhà --> miệng bếp nên quay về hướng bắc là hướng Phước Đức của chủ nhà để hóa giải.
Bạn vanhoai :Cho ḿnh hỏi ḿnh đo hướng nhà ở vị trí nào cho chính xác(từ tâm nhà hay từ giữa cửa hay bên ngoài nhà để tránh bị ảnh hưởng từ trường của đồ điện)?
Đôi lời với bạn
Thân ái
Sửa lại bởi munvnhp : 16 October 2007 lúc 1:33am
__________________ Một mảnh trời Nam ta với ta
|
| Quay trở về đầu |
|
| |
|
|
hpthuy Hội viên


Đă tham gia: 23 February 2006 Nơi cư ngụ: Japan
Hiện giờ: Offline Bài gửi: 47
|
| Msg 6 of 42: Đă gửi: 16 October 2007 lúc 12:17pm | Đă lưu IP
|
|
|
Cảm ơn các bác nhiều.
Theo lời bác vanhoai, trước mắt em sẽ làm như sau:
-Mua bể cá đặt ngay vị trí bác nói
-Đặt lọ sành nước muối và 6 đồng xu... dưới bếp.
C̣n về đặt thêm bàn dưới bếp th́ do nhà em quá nhỏ, rất khó khăn trong việc đặt thêm bàn ghế, tuy nhiên em sẽ cố gắng xoay sở xem sao.
C̣n về sửa nhà, chắc là em sẽ không, v́ căn nhà này hiện tại khá nhỏ so với nhu cầu sử dụng của em hiện tại, với lại làm cho em "kiệt quẹ về tài chính" nên em đang tính bán căn này đi mua căn chung cư mới, hay mua hẳn một miếng đất khác rộng hơn để xây nhà mới (em tính mượn tiền bạn bè, người thân và vay ngân hàng mua). Mà mua chung cư (loại mới bây giờ có cần quan tâm đến hướng bếp, wc, pḥng ngủ ...hay chỉ cần quan tâm đến hướng nhà sao cho hợp tuổi thôi ạ?
|
| Quay trở về đầu |
|
| |
vanhoai Hội viên


Đă tham gia: 09 September 2006 Nơi cư ngụ: Vietnam
Hiện giờ: Offline Bài gửi: 76
|
| Msg 7 of 42: Đă gửi: 16 October 2007 lúc 11:37pm | Đă lưu IP
|
|
|
Chao hpthuy va munvnhp
Hien toi dang o xa nha ( may thi muon ). se tra loi cac ban trong 2 ngay toi. Thanh that xin loi
Than
|
| Quay trở về đầu |
|
| |
hpthuy Hội viên


Đă tham gia: 23 February 2006 Nơi cư ngụ: Japan
Hiện giờ: Offline Bài gửi: 47
|
| Msg 8 of 42: Đă gửi: 16 October 2007 lúc 11:46pm | Đă lưu IP
|
|
|
Vâng a, xin cám ơn bác vanhoai nhiều! Bác nhiệt t́nh giúp em, em thật cảm kích.
Và xin bác tư vấn cho em về vụ mua nhà mới với ạ, dù hiện tại đang là ...chúa Chổm nhưng em cũng rất muốn chuyển tới nơi khác ở. Và để cải thiện t́nh h́nh từ nay tới khi có thể có nhà mới em sẽ làm theo lời bác khuyên. Mong bác cho thêm ư kiến.
Chúc bác sức khỏe!
Mong tin cua bác.
|
| Quay trở về đầu |
|
| |
vanhoai Hội viên


Đă tham gia: 09 September 2006 Nơi cư ngụ: Vietnam
Hiện giờ: Offline Bài gửi: 76
|
| Msg 9 of 42: Đă gửi: 19 October 2007 lúc 4:19am | Đă lưu IP
|
|
|
Chào hpthuy Bạn cố gắng quay bếp th́ tài lộc mới khá hơn được. Năm nay không mở được cửa phụ, bạn có thể đi cửa trước v́ năm nay có niên tinh bát bạch đang ở tây nam hợp thập với sao hướng nên vẫn tốt chỉ qua năm trở đi th́ mới xấu. Tôi đoán nhà bạn thường đi cửa hông. Năm nay ĐB đang có niên tinh ngũ hoàng , muốn đi cửa này bạn phải treo 1 chuông gió 6 ống rỗng bằng kim loại để hóa giải "ông năm hoàng" này. Tốt nhất để ra vào năm nay vẫn đi cửa trước. Sau khi làm những việc này nhanh nhất 21 ngày chậm nhất 100 ngày sẽ có tác dụng , bạn nên tiến hành càng sớm càng tốt. Biết đâu qua năm khi bạn đă trổ được cửa phụ và dời bếp, t́nh h́nh trở nên tốt bạn lại mến căn nhà này mà không muốn ra đi. Như bác Kép Nhựt nói :"Thiên đàng và địa ngục ở cùng một nơi". C̣n về việc thay đổi chỗ ở th́ củng chỉ là tương đối v́ không có căn nhà nào được coi là tốt hoàn toàn v́ phụ thuộc rất nhiều yếu tố. Dĩ nhiên nếu đạt được 60-70% th́ măn nguyện rồi. Theo tôi th́ mua đất cất nhà hay hơn v́ ḿnh có thể thiết kế theo ư ḿnh và có nhiều cách lựa chọn ( hiện nay đất dự án người ta thường phóng đường theo chính hướng do đó dễ chọn hơn mà điều kiện sống cũng tốt hơn ). Nếu bạn tin th́ tôi có thể giới thiệu một vài hướng để bạn chọn. Chúc bạn thành công Thân
|
| Quay trở về đầu |
|
| |
vanhoai Hội viên


Đă tham gia: 09 September 2006 Nơi cư ngụ: Vietnam
Hiện giờ: Offline Bài gửi: 76
|
| Msg 10 of 42: Đă gửi: 19 October 2007 lúc 5:36am | Đă lưu IP
|
|
|
Chào munvnhp Chắc bạn có nhầm lẫn. 1976-Bính Th́n, cung mạng(nam) là Càn. Mạng càn ở nhà hướng tây nam được phước đức, bếp quay về tây nam cũng được phước đức như vậy là đại cát . Tại sao gia chủ khi vào ở nhà này lại khốn đốn như vậy? Giữa bát trạch và huyền không có nhiều mâu thuẫn. Do đó ḿnh chỉ có thể chọn một trong hai mà thôi. Nhà này nếu an tinh bàn theo vận 7 th́ đầu hướng có cặp tọa hướng 4-1 Có người học giỏi th́ đúng rồi. Nhưng sao hướng nhất bạch là tiến khí trong vận 8, cửa chính ở chính hướng th́ tài lộc phải tốt. Lại c̣n bếp đặt tại đông bắc có sao tọa nhất bạch thủy (thủy hỏa kí tế), miệng bếp quay về đông nam có sao hướng tam bích mộc ( mộc sinh hỏa)cũng tốt nữa. Vậy tại sao gia chủ lại khó khăn về tài lộc. Chỉ khi an tinh bàn theo vận 8 th́ mới đúng với những ǵ đă xẩy ra mà thôi. Đúng là năm 2003 là thuộc vận 7. Nhưng thời gian gần đây theo các bậc tiền bối th́ vận có tới sớm vài tháng. Tháng 11 năm 2003 là cuối năm 2003 nên đă qua vận 8 rối bạn ạ. Để đo hướng nhà cho chính xác ta cần đo ở nhiều chỗ ( dĩ nhiên là phải cách xa những nơi có sắt và từ trường). Sau đó lấy con số gần nhau nhất. Nhà ở VN thường trước sau không bằng nhau. Do đó ta phải lấy trung điểm cạnh trước và trung điểm cạnh sau rồi căng một sợi dây từ điểm này tới điểm kia, ta đo theo sợi dây này hoặc sợi dây song song là chính xác nhất

|
| Quay trở về đầu |
|
| |
munvnhp Hội viên


Đă tham gia: 14 May 2007 Nơi cư ngụ: Vietnam
Hiện giờ: Offline Bài gửi: 33
|
| Msg 11 of 42: Đă gửi: 19 October 2007 lúc 8:10pm | Đă lưu IP
|
|
|
Chào bạn vanhoai!
Ḿnh rất cám ơn những lời chỉ dẫn của bạn, đúng là an theo tinh bàn vận 8 th́ đúng hơn so với những ǵ đă xảy ra với gia chủ. V́ ḿnh thấy tên bạn hpthuy ḿnh nghĩ là nữ mạng nên mới tính như vậy.
Cách đo hướng của bạn rất hay, ḿnh xin được học hỏi.
Bạn hpthuy: Bạn vanhoai là một trong những người nắm rất chắc căn bản Phong Thủy và các cách vận dụng thực tế trong diễn đàn này. Ḿnh cũng đă từng được chỉ dẫn rất nhiệt t́nh đó, bạn thử tiến hành theo chỉ dẫn xem sao?
Thân ái
__________________ Một mảnh trời Nam ta với ta
|
| Quay trở về đầu |
|
| |
phongthuysinh Học Viên Lớp Dịch Lư


Đă tham gia: 28 July 2005 Nơi cư ngụ: United States
Hiện giờ: Offline Bài gửi: 394
|
| Msg 12 of 42: Đă gửi: 20 October 2007 lúc 8:22am | Đă lưu IP
|
|
|
hpthuy đă viết:
Kính
Kính chào các bác,
Em tuổi Bính Th́n, cách đây 4 năm em có sửa lại căn nhà mà em mua năm 2002 (nhà 3m x 10m, 1 trệt 1 lầu, hướng Tây Nam 242 độ). Từ ngày sửa nhà, chỉ có việc học là hanh thông, c̣n chuyện tiền bạc th́ hư không, cuộc sống luôn luôn túng thiếu, nợ như Chúa Chổm, thật vất vả trăm bề. Thấy các bác kiến thức sâu rộng, em mạn phép đưa sơ đồ căn nhà mong được nghe các bác chỉ giáo em cần sửa chữa những ǵ để giúp cải thiện t́nh h́nh hiện tại.
Em xin cám ơn các bác.
|
|
|
Nhà này cửa trước lớn quá lại gặp cầu thang nơi giửa khó mà chế hóa . Áp dụng thành môn, mở một cửa sổ ở 285 độ làm song cửa mở 24/24 thử xem .
__________________ phongthuysinh
|
| Quay trở về đầu |
|
| |
tphong Hội viên

Đă tham gia: 14 April 2005 Nơi cư ngụ: Vietnam
Hiện giờ: Offline Bài gửi: 363
|
| Msg 13 of 42: Đă gửi: 20 October 2007 lúc 9:24am | Đă lưu IP
|
|
|
hi...hi...đôi khi vào mục phong thủy tôi thấy h́nh như quư vị bên tử vi lư số(hi...hi thường là tham gia sau này ắt là hậu sinh khả úy rùi)cứ cho là huyền không là đệ nhất....Ui nếu đệ nhất thông minh như cụ Thẩm trúc Nhưng cũng chưa dám cho ḿnh là dzậy th́ phải...hi...hi..
cứ xem sơ đồ,số liệu là chắc rùi cho dù là thượng sơn hạ thuỷ,tam ban xảo quái,thu sơn xuất sát hay là ǵ đi nữa th́ dù bát trạch,loan đầu,thủy pháp tràng sinh,kinh nghiệm thực tế,gia truyền...v..v.. e rằng cũng chẳng là ǵ kwá...vài lời đóng góp.Xin chào.
|
| Quay trở về đầu |
|
| |
hpthuy Hội viên


Đă tham gia: 23 February 2006 Nơi cư ngụ: Japan
Hiện giờ: Offline Bài gửi: 47
|
| Msg 14 of 42: Đă gửi: 22 October 2007 lúc 11:43pm | Đă lưu IP
|
|
|
Cám ơn bác vanhoai và bác munvnhp, cùng các chư vị khác dă xem giúp em.
Theo lời khuyên của bác vanhoai, em đă tiến hành sửa sang lại một vài thứ trong nhà, đă đặt bể cá dưới chân cầu thang rồi. Và quả thực thấy tinh thần phấn chấn, cảm giác như có điều ǵ đó tốt đẹp sẽ đến với ḿnh (em có nói quá th́ các bác cũng đừng cười em, chỉ là thấy sao nói vậy, và cảm kích kiến thức sâu rộng của bác vô cùng!)
Có điều nhà em tuy có cửa phụ, nhưng từ lâu đă không dùng đến nó, chỉ thỉnh thoảng khi nào dọn nhà mới mở ra một chút lại đóng vào ngay. Cái cửa đó tới nay đă hoen rỉ không thể mở ra hết được nữa. Vậy cho em hỏi có nên làm ǵ đối với cái cửa phụ này không ạ?
Em nghe lời khuyên của bác vanhoai cố gắng cải thiện t́nh h́nh, rồi tới sang năm sẽ tính tiếp bác nhỉ.
Thành thực cám ơn bác rất nhiều.
Kính bác sức khỏe!
|
| Quay trở về đầu |
|
| |
vanhoai Hội viên


Đă tham gia: 09 September 2006 Nơi cư ngụ: Vietnam
Hiện giờ: Offline Bài gửi: 76
|
| Msg 15 of 42: Đă gửi: 23 October 2007 lúc 2:44am | Đă lưu IP
|
|
|
Chào hpthuy Nếu cửa phụ đó không dùng th́ nhà bạn không có lối ra của suy khí mà cửa trước quá lớn ,nên bị xuất quái âm dương lẫn lộn có nhiều tai họa. V́ tôi nghĩ khi mở cửa phụ ở cung Tân (285 độ), đây là dùng "bí quyết" thành môn để mở cửa phụ, lúc đó th́ sẽ ít đi cửa chính nên không coi kỹ. Thành thật xin lỗi bạn. Năm nay v́ hướng tây phạm tam sát nên không đục đẽo ǵ ở đây được, nhưng cũng nên nghe lởi sư huynh Phongthuysinh mà mở cửa sổ ở đây thường xuyên ( trong sơ đồ tôi thấy đă có sẵn cửa sổ ở đây) đễ lấy thêm vượng khí. C̣n cửa trước bạn nên đóng bớt 1/2 bên phải ( từ trong nh́n ra) mà chỉ đi 1/2 bên trái mà thôi. Qua năm khi đă mở được cửa phụ th́ sẽ ít đi cửa chính ( chỉ khi nhà có khách th́ mới mở ) mà người nhà thường ra vào nhà bằng cửa phụ này. Cửa phụ phía sau bạn cũng nên mở mà đi ( chỉ có năm nay cần treo chuông gió mà thôi, đến tháng 2 dương lịch th́ bỏ đi), v́ ở đây đang có hướng tinh bát bạch là vượng tinh của vận này lại có đường đi nên cũng là cửa mang lại tài lộc cho nhà bạn. Năm nay không dời được bếp, nhưng bạn cố xoay bếp quay về sau là hướng có hướng tinh bát bạch cũng chủ về tài lộc Bạn nên nhớ nhà bạn là tam ban xảo quái tức là cướp khí của tương lai. Khi ḿnh vượng th́ mượn khí của thiên hạ về sài, c̣n khi ḿnh suy th́ thiên hạ lại mượn của ḿnh. Nên khi vượng th́ rất vượng mà khi suy th́ rất suy. Nhà tam ban cần phải loan đầu (tức h́nh thế bên ngoài ) phài phù hợp với trạch vận, nhưng bên ngoài không thuộc phạm vi của ḿnh, cái này ăn thua phúc phần của ḿnh thôi. Bên trong nếu bố trí hợp lư th́ sẽ được gia đ́nh ḥa thuận, mọi người mạnh khỏe, con cái ngoan hiền... Chúc bạn vui
Sửa lại bởi vanhoai : 23 October 2007 lúc 9:17am
|
| Quay trở về đầu |
|
| |
hpthuy Hội viên


Đă tham gia: 23 February 2006 Nơi cư ngụ: Japan
Hiện giờ: Offline Bài gửi: 47
|
| Msg 16 of 42: Đă gửi: 25 October 2007 lúc 1:46am | Đă lưu IP
|
|
|
Nhà em từ trước tới nay cũng chỉ đi có 1/2 cửa trước bên trái thôi bác ạ. C̣n về việc xoay bếp th́ thực t́nh rất khó v́ nhà quá chật chội. Em cũng đang t́m cách cố gắng cải thiện hướng bếp đi mà xem ra bí quá ạ. Em cũng sẽ tích cực đi lại bằng cửa phụ mong t́nh h́nh được cải thiện hơn.
Nhân đây bác vanhoai làm ơn chỉ giúp cho em mấy hướng đất tốt hợp với tuổi em để em làm chút kiến thức giắt lưng, pḥng trường hợp có đi đâu gặp được mảnh đất hợp hợp th́ c̣n có cái mà xem xét, chứ em cứ ngù ngờ thế này nhỡ mua nhầm phải miếng không hợp th́ khốn lắm.
Rất cám ơn bác đă nhiệt t́nh giúp đỡ.
|
| Quay trở về đầu |
|
| |
vanhoai Hội viên


Đă tham gia: 09 September 2006 Nơi cư ngụ: Vietnam
Hiện giờ: Offline Bài gửi: 76
|
| Msg 17 of 42: Đă gửi: 25 October 2007 lúc 4:32am | Đă lưu IP
|
|
|
Chào hpthuy
Nếu bạn muốn t́m một khu đất khác để lập hướng th́ tôi
xin trích phần lư thuyết được anh Kepnhut tổng quát trong bài Phong-thủy Bát-trạch và Huyền-không-hoc, trang 5_52 và
5_53:
"Trong cách tuyễn chọn hướng th́ sau đây là các cách tuyễn chọn có công
dụng tốt từ cao xuống thấp:
a) Phụ Mẫu Tam-ban xảo quái: có thể thông khí cả 3 nguyên nên có được tốt lành
lâu đời, phồn vinh, hưng thịnh mà không bị giới hạn Thướng Sơn Há Thủy. Nếu có
thể đảo ngược cách kỵ long th́ càng tuyệt diệu.
b) Toàn cuộc hợp thập.
c) Phụ Mẫu Ly cung đả kiếp. d) Vượng sơn vượng hướng (Đáo sơn đáo hướng) có 2 cung Thành-môn.
e) Vượng sơn vượng hướng.
f) Phụ Mẫu Khảm cung đả kiếp.
g) 2 cung Thành-môn."
Theo phần lư thuyết này th́ trong vận 8 có các hướng và độ số sau để chọn. Nên
nhớ hướng nhà không được sai số quá 3 độ so với độ số.
Theo cách (a): ĐB-45 độ, ĐB-60 độ, TN-225 độ, TN-240 độ. ( Cách này tam ban xảo quái nhưng bị thướng sơn há thủy nên dùng th́ nguy hiễm, cần coi kỹ về loan đầu nhưng nói chung là không nên dùng))
Theo cách (b): ĐB-30 độ, TN-210 độ ( 2 hướng này kỵ người có cung mệnh là thủy)
Theo cách (c): Đông-75 độ, Nam-180 độ, Nam-195 độ. Cánh này cần có đất rộng( dạng nhà biệt thự ), trống bên phải nhà( từ trong nh́n ra) hoặc có đường đi phía sau để khi qua vận 9 có thể bố trí lại
Cách (e) có nhiều lựa chọn nhất: ĐN-135 độ, ĐN-150 độ,
TB-315 độ, TB-330 độ.
Các cách trên chỉ tốt đến năm 2023, đến 2024 th́ phải coi lại. Một điều nữa là khi xây nhà cần phải đo độ hướng cho kỹ không được quá (+ -) 3 độ. Với cách (c) th́ trước và sau cần trống thoáng,(b) và (e) th́ cần phía trước trống thoáng, phía sau có nhà cao , cây cao hay đối cao. Khi có trường hợp cụ thể sẽ tính cách mở cửa và bố trí bếp nước trong nhà
Nói chung, nếu bạn theo lư thuyết của phái Huyền
Không Phi Tinh th́ không cần quan tâm nên làm nhà theo tuổi của ai cả, v́ một
khi trạch vận cả căn nhà được bố trí theo tinh bàn rồi th́ mọi người trong nhà đều
chịu ảnh hưởng.Tuy nhiên, nếu bạn cho tôi biết năm, thàng, ngày, giờ sinh của bạn, tôi sẽ xem dụng thần của bạn là ǵ hầu đề nghị bạn những hướng tốt nhất cho tuỗi của bạn.
Thân chào
Sửa lại bởi vanhoai : 29 October 2007 lúc 3:33am
|
| Quay trở về đầu |
|
| |
hpthuy Hội viên


Đă tham gia: 23 February 2006 Nơi cư ngụ: Japan
Hiện giờ: Offline Bài gửi: 47
|
| Msg 18 of 42: Đă gửi: 16 November 2007 lúc 11:06pm | Đă lưu IP
|
|
|
Em xin lỗi bác vanhoaiv́ lâu nay không vào đây trả lời bác được. Em bận tối mắt tối mũi, dù trong ḷng lúc nào cũng cánh cánh lời bác.
Em rất cám ơn bác đă bỏ thời gian và công sức nhiệt t́nh giúp em. Em từ khi làm theo lời khuyên của bác thấy có những biến chuyển tốt đẹp, nhưng ngặt nỗi nhà quá nhỏ nên không thể xoay bếp được bác ạ. Với lại chuyển nhà cũng nằm trong kế hoạch, và hoàn cảnh nhà em bây giờ phải chuyển nơi mới v́ có mấy em của em cũng ở cùng, và em chuẩn bị cưới cô vợ bác ạ. Nên em đang t́m nhà, ngặt nỗi ...ít xiền nên cũng khó!
Vậy bác đă thương th́ thương cho trót ạ. Nhờ bác làm ơn xem cho em. Em sinh ngày ngày 9/1/1977, giờ sinh v́ không nhớ rơ bác ạ, chỉ nghe Mẹ em nói khoảng giờ Hợi bác ạ. Vậy bác làm ơn xem hộ em.
Thành thực rất cám ơn bác.
Chúc bác sức khỏe!
|
| Quay trở về đầu |
|
| |
vanhoai Hội viên


Đă tham gia: 09 September 2006 Nơi cư ngụ: Vietnam
Hiện giờ: Offline Bài gửi: 76
|
| Msg 19 of 42: Đă gửi: 17 November 2007 lúc 5:54am | Đă lưu IP
|
|
|
Chào hpthuy Chúc mừng bạn. Nhà có những chuyển biến tốt, đặc biệt chuẩn bị có một cô vợ cực hiền  Như vậy dụng thần của bạn là mộc. Bạn nên chọn nhà hướng bắc (345 độ),tây bắc (330 độ, 315 độ), Tây ( 285 độ,270 độ) là tốt nhất để bạn sống và làm việc nơi cung hướng đông, đông nam hoặc nam trong căn nhà. Khi nào chọn được sẽ tính cách bố trí trong nhà. Chúc bạn gặp nhiều may mắn Thân
|
| Quay trở về đầu |
|
| |
hpthuy Hội viên


Đă tham gia: 23 February 2006 Nơi cư ngụ: Japan
Hiện giờ: Offline Bài gửi: 47
|
| Msg 20 of 42: Đă gửi: 17 November 2007 lúc 1:02pm | Đă lưu IP
|
|
|
Chào bác vanhoai.
Thật vậy hả bác? Làm em thấy yêu đời quá! Cám ơn bác thật nhiều!
Mà bác cho em hỏi chút. Bác nói Dụng thần của em là Mộc, nhưng cái này h́nh như lại là Kỵ thần của bạn gái em. Nên nếu 2 nguời lấy nhau ở chung nhà th́ có sao không bác nhỉ?
Hôm nay em đi xem mấy căn nhà, rất ưng ư. Nhưng mà giá hơi đắt, so với số tiền c̣m của em th́ chẳng biết đến bao giờ mới mua được đây Em cũng đang lo sắp xếp lại nhà cũ sao cho có thêm chút tiền vào!
Rất cám ơn bác đă nhiệt t́nh giúp em ạ!
Chúc bác vui và khỏe!
|
| Quay trở về đầu |
|
| |